CRSキャブレターのあまり語られない部分の事
CB400F・500F・750ノーマルキャブはピストンバルブ式強制開閉キャブレター。
レース用CRSキャブレターも基本同じタイプのキャブレター。
ノーマルはアイドリングも微開度もバッチリ安定するのに、どうしてCRSはダメなのか?
40年前にCRSを付けてからこっち、長い事謎でした。
ある時気付いたのです。

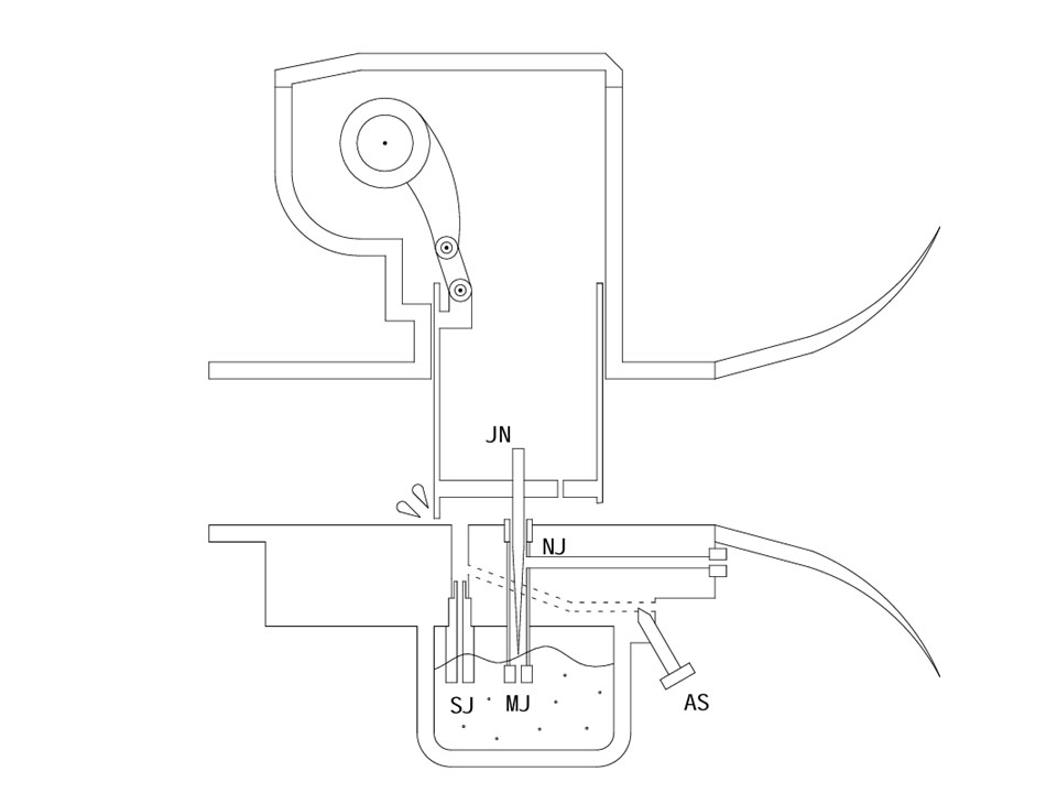
ノーマルの概念図です。
スロットルバルブ底面は塞がっており、スロットルバルブ上側スペースの空気を逃がすための小さな空気孔(影響は無視で出来る)が開いています。
スロットルバルブ底面下側の空間は狭いので、SJ噴出孔からの燃料吸い上げには小さな負圧で充分です。

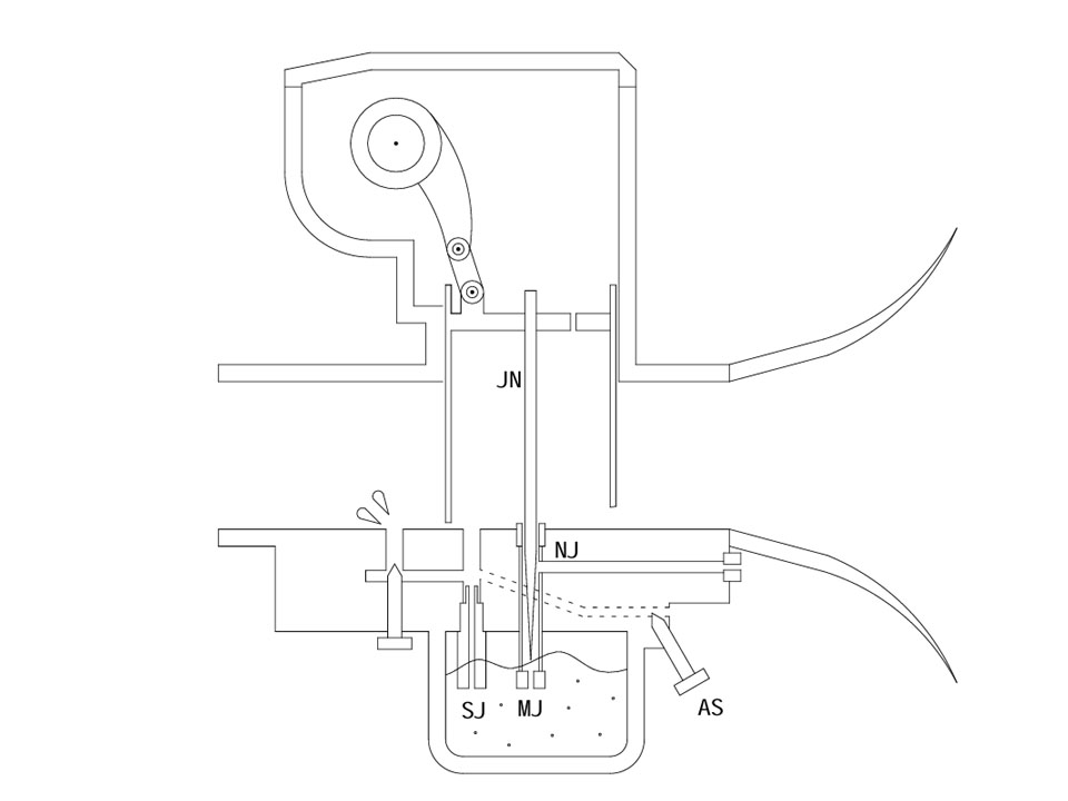
CRSの概念図です。
全開時のスムーズボアを得るため、中子構造によりスロットルバルブが中空になっています。
この中空部の空間があるため、SJ噴出孔から燃料を吸い出すためにはより強い負圧が必要です。
(小さな部屋の気圧を下げるより、大広間の気圧を下げる方が、より吸引力が必要です)
アイドリング時の負圧を大きくする事は出来ないので、本来必要なSJよりも幾分大きめのSJを使い、アイドリングに必要な燃料を吸い上げる事になります。
すると微開度域で濃くなり過ぎ、調整に支障をきたします。
吊るしのCRSで誰もが悩むところですのー。
(スロットルバルブのカッタウエイを小さくすれば、ある程度の改善が見られますが、残念な事にCRS26のカッタウエイは最小の2.0です))

PSを導入すると、負圧が有効に吸い出すので、吊るしよりも小さなSJにてアイドリングが安定。
微開度はある程度アイドリングと切り離して最適化する事が出来ます。

もうひとつ、CB500FOURを題材に、ベンチュリー開口面積の検証です。
ノーマルキャブは公称Φ22ミリ相当の断面積を有することになってると思います。
真円断面だと、開け始めの開口面積の増大が急激で、燃料の搬送遅れが生じます。
パカッと開けた時にストールし易くなるのを防ぐため、ノーマルはベンチュリーをオーバル型にしてあります。
例えばスロットルバルブを8ミリ開けた時の断面積の差は歴然、同じ開け方でもノーマルの開口面積はジワリと大きくなるので、ストールし難くなっています。
その代わり全開に至るまでのストロークが長くなり、アクセルを一杯回さねばなりません。
右側はΦ26、CRS26相当の画です。
同じ8ミリ開けるんでも、開口面積はより大きくなってます。
なので、言い換えれば開け始めはハイスロ的になってるって事ですね。

CRSではスロットルバルブを引き上げるリンクアームには開け始めが斬新的になるような工夫がなされてます(画像はnetから拝借)
そうしてもなお、街乗りではチョイ開けが唐突になりますな。
大昔は少しハイスロ目なスロットルカラーの開け始め部分を削り落とし、バリアブルスロットルカラーを作ったもんです。
今はスズキでΦ26~Φ34相当のインボリュート曲線的なバリアブルスロットルカラーが純正部品として入手可能です。
これはね、大きいキャブを付けてる人は一個持ってて損は無いです♪
以上、YKB550様専用記事でありました。
CB400F・500F・750ノーマルキャブはピストンバルブ式強制開閉キャブレター。
レース用CRSキャブレターも基本同じタイプのキャブレター。
ノーマルはアイドリングも微開度もバッチリ安定するのに、どうしてCRSはダメなのか?
40年前にCRSを付けてからこっち、長い事謎でした。
ある時気付いたのです。

ノーマルの概念図です。
スロットルバルブ底面は塞がっており、スロットルバルブ上側スペースの空気を逃がすための小さな空気孔(影響は無視で出来る)が開いています。
スロットルバルブ底面下側の空間は狭いので、SJ噴出孔からの燃料吸い上げには小さな負圧で充分です。

CRSの概念図です。
全開時のスムーズボアを得るため、中子構造によりスロットルバルブが中空になっています。
この中空部の空間があるため、SJ噴出孔から燃料を吸い出すためにはより強い負圧が必要です。
(小さな部屋の気圧を下げるより、大広間の気圧を下げる方が、より吸引力が必要です)
アイドリング時の負圧を大きくする事は出来ないので、本来必要なSJよりも幾分大きめのSJを使い、アイドリングに必要な燃料を吸い上げる事になります。
すると微開度域で濃くなり過ぎ、調整に支障をきたします。
吊るしのCRSで誰もが悩むところですのー。
(スロットルバルブのカッタウエイを小さくすれば、ある程度の改善が見られますが、残念な事にCRS26のカッタウエイは最小の2.0です))

PSを導入すると、負圧が有効に吸い出すので、吊るしよりも小さなSJにてアイドリングが安定。
微開度はある程度アイドリングと切り離して最適化する事が出来ます。

もうひとつ、CB500FOURを題材に、ベンチュリー開口面積の検証です。
ノーマルキャブは公称Φ22ミリ相当の断面積を有することになってると思います。
真円断面だと、開け始めの開口面積の増大が急激で、燃料の搬送遅れが生じます。
パカッと開けた時にストールし易くなるのを防ぐため、ノーマルはベンチュリーをオーバル型にしてあります。
例えばスロットルバルブを8ミリ開けた時の断面積の差は歴然、同じ開け方でもノーマルの開口面積はジワリと大きくなるので、ストールし難くなっています。
その代わり全開に至るまでのストロークが長くなり、アクセルを一杯回さねばなりません。
右側はΦ26、CRS26相当の画です。
同じ8ミリ開けるんでも、開口面積はより大きくなってます。
なので、言い換えれば開け始めはハイスロ的になってるって事ですね。

CRSではスロットルバルブを引き上げるリンクアームには開け始めが斬新的になるような工夫がなされてます(画像はnetから拝借)
そうしてもなお、街乗りではチョイ開けが唐突になりますな。
大昔は少しハイスロ目なスロットルカラーの開け始め部分を削り落とし、バリアブルスロットルカラーを作ったもんです。
今はスズキでΦ26~Φ34相当のインボリュート曲線的なバリアブルスロットルカラーが純正部品として入手可能です。
これはね、大きいキャブを付けてる人は一個持ってて損は無いです♪
以上、YKB550様専用記事でありました。